Skip to content

C系列环形部分耗尽硅面垒型辐射探测器

主要应用
从准直光源或光束目标反向散射;角度相关测量。
  • 资料 +

  • 安装布局 +


    订购时必须指定安装座。

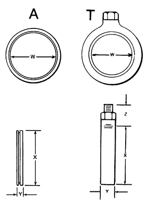
    A
     这是一个“环形安装座”;即硅晶片在其环上,没有输出连接器。这种不常使用的布局可应特殊要求提供。

    T
     侧面的Microdot;无可调螺丝。(向后开口。)

    尺寸以毫米为单位。


    探测器尺寸 (mm2)

    W (标称)
    A  T 透射安装座
    X Y  X Y Z
     050  8.0 15.2 3.7
    19.4 7.9 9.9
     150  13.8 22.0 3.7
    26.1 7.9 9.9
     300  19.5 27.1 3.7
    31.6 7.9 9.9
     450 23.9 30.5 3.7
    34.8 7.9 9.9
     公差 ±0.5 ±0.3
    ±0.3
    ±0.3
    ±0.3
    ±0.3
  • 订购信息 +


    订购时必须指定安装座。

    除非以适当的字母前缀另行指定,否则提供T安装座;4毫米孔为标准配置,可为特殊订单提供6毫米或8毫米孔或其他面积和深度。

    **
    型号的前三位数字表示使用标准ORTEC电子设备和0.5-μs整形时间常数时,241Am5.486-MeV α的总系统分辨率FWHM。β分辨率近似于脉冲发生器宽度FWHM

    :兼容Alpha套件的探测器:ENS-系列(购买新系统时含安装和测试)ENS8系列(新系统的8包备件)B接口的ULTRA-AS和低本底R系列探测器型号保证与Alpha套件产品(DUOMEGAARIAENSEMBLE)兼容。所有其他探测器都需要经过特殊批准以保证其兼容性及指标规格。



    有效面积 (mm2)

    保证最大分辨率**keV

    最小耗尽深度100μm

    最小耗尽深度300μm

    最小耗尽深度500μm

    α

    β

    型号

    型号

    型号

    50

    17

    9

    C-017-050-100

    C-017-050-300

    C-017-050-500

    150

    19

    12

    C-019-150-100

    C-019-150-300

    C-019-150-500

    300

    21

    14

    C-021-300-100

    C-021-300-300

    C-021-300-500

    450

    25

    20

    C-025-450-100

    C-025-450-300

    C-025-450-500




    有效面积 (mm2)

    保证最大分辨率**keV

    最小耗尽深度1000μm

    α

    β

    型号

    50

    18

    10

    C-018-050-1000

    150

    20

    12

    C-020-150-1000

    300

    22

    15

    C-022-300-1000

    450

    25

    20

    C-025-450-1000